
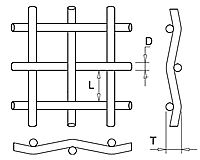
目数: 40x40目
丝径: 0.17-0.19mm
孔径: 0.44-0.46mm
材质: 铝丝
编织方式: 平纹编织
宽幅: 1.0m,1.2m,1.5m
长度: 30m
用途: 滤片,滤器,空气通风孔
40目平纹编织铝网
执行标准
u GB/T 5330.1-2000, GB/T 19628.2-2005
u 《安平县万博丝网有限公司平纹编织工艺及技术参数》
简要描述
40目平纹编织铝网,即1英寸里有40根丝和孔。采用0.17-0.19mm线径,通过平纹编织工艺,编织40目网孔,可实现0.44-0.46mm的固体颗粒筛选,也可作为液体、气体过滤的支撑材料或防护面料使用。这种网丝径与网孔的配比较合理,因此编织结构非常牢固。整个编织历经13道工序,使网面平整度较好。
选用材质
铝丝(1050 1060 1100)
40目平纹编织铝网规格参数


网宽:1.0-1.5米
网长:30.0米
应用领域
u 滤片
u 滤器
u 空气通风孔
40目平纹编织铝网包装情况
u 普通包装
铝网采取防潮防挤压包装。铝网卷绕在平直干燥的芯轴上,内外用防潮纸或者其他包装材料包裹。
u 出口包装
铝网内用防潮纸或塑料薄膜包裹,外用木箱或者木托盘进行包装。